天天财经独家,速关注
认购总金额超过700亿元,公众投资者认购1万元获配不到33元。
公募REITs又出爆款!
公募REITs发展至今,火爆局面延续,亮点不断。近期,产业园区更是成为REITs上市的主力。
临港REIT认购火爆
9月22日早间,上交所公示了国泰君安临港创新产业园REIT(场内简称:临港REIT)基金认购申请确认比例结果,基金募集期内,广大投资者认购十分踊跃。
此前的发售公告显示,临港REIT的募集份额总额为2亿份,发售采用向战略投资者定向配售、向符合条件的网下投资者询价配售、向公众投资者公开发售相结合的方式进行,初始战略投资者、网下投资者、公众投资者的发售份额分别为1.1亿份、0.63亿份、0.27亿份,根据询价结果确定基金认购价格为4.12元/份。
根据认购结果公告,截至9月20日,发售公告中披露的29家战略投资者皆已认购其承诺的基金份额;76家网下投资者管理的214个有效报价配售对象已全部进行网下认购,有效认购份额为93.26亿份,有效认购申请确认比例为0.6755%;截至9月19日,公众投资者有效认购份额为82.13亿份,有效认购申请确认比例为0.3287%,意味着公众投资者以1万元认购该基金,获配金额将不足33元。
结合临港REIT的基金认购价格和有效认购规模计算,战略投资者、网下投资者、公众投资者的基金认购规模分别为4.53亿元、384.23亿元、338.39亿元,合计认购规模为727.16亿元。由于该基金设置了2亿份的募集规模上限,发售公告显示,预计募集资金总额为8.24亿元(不含认购费用和认购资金在募集期利息)。
国泰君安临港创新产业园REIT发行成功的同时,国泰君安资管的另一只产业园公募REIT也得到了积极认购。9月21日公告显示,国泰君安东久新经济REIT(场内简称:东久REIT)公众投资者发售部分提前结束募集并进行比例配售。
发售公告显示,东久REIT募集基金份额总额为5亿份,初始战略投资者、网下投资者、公众投资者发售份额分别为3.25亿份、1.225亿份、0.525亿份,根据询价结果基金认购价格为3.035元/份,预计募集资金总额为15.175亿元(不含认购费用和认购资金在募集期间产生的利息)。此次,东久REIT的认购结果同样值得期待。
产业园区成REITs上市主力
近期,公募REITs频频传来火爆消息。
8月31日,首批3只保障性租赁住房REITs上市首日全部触及30%的涨停限制。此前的8月16日,这3只产品开售首日就都发布提前结束募集的公告,“一日售罄”。
9月10日,华夏合肥高新REIT参与询价的网下拟认购份额是网下发售份额的近157倍,刷新此前纪录。
9月16日,华夏合肥高新REIT公告,公众发售部分的配售比例为0.23161486%。也就是说,公众投资者认购1万元仅获配23元,再次刷新公募REITs公众发售配售比例纪录。
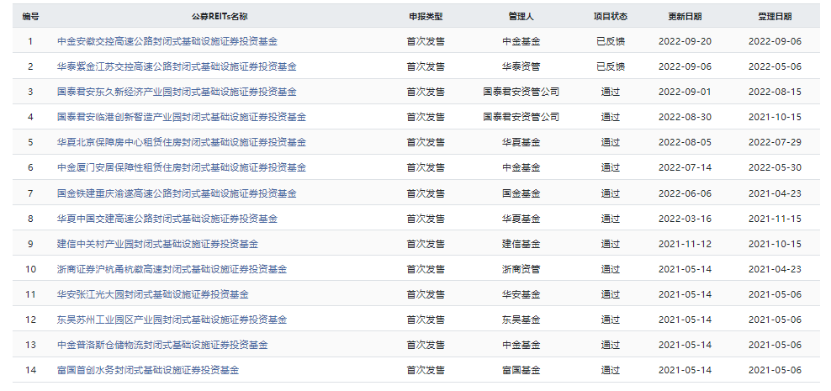
公募REITs已成为市场中重要的投资品种。据上交所消息,截至2022年9月19日,上交所基础设施公募REITs市值合计441.52亿元。
上交所公募REITs项目情况
来源:上交所网站
公募REITs近期还有明显的结构亮点,产业园区成为REITs上市的主力。
中邮证券表示,产业园区REITs深受资本市场认可,原因包括:我国产业园区规模庞大,存在大量运营成熟的优质园区,国家级经开区、高新区地区生产总值占GDP比重分别为10.6%和12.3%;优质产业园区受疫情冲击相对可控,整体运营较为平稳,出租率保持平稳增长;优质产业园区租金具备成长空间,单位租金历史增长率约3%-10%,未来可能达到2%-5%。
各产业园区公募REITs底层资产近年来出租率变化
来源:中邮证券研报
“保租房、产业园区REITs底层资产基本位于核心一线、二线城市,具备安全性和一定成长性。随着产业升级进行,租金有望合理增长,建议积极参与投资保租房和产业园区REITs。”中邮证券分析师刘清海说。
编辑:叶松
推荐阅读