【科技评论】从专利看航空喷气公司发展历程及其高超声速核心技术

2015-07-02 战略前沿技术 战略前沿技术


从专利看航空喷气公司发展历程及其高超声速核心技术


李夜兰白洋周鹏李峰张鸣宇


本文由海鹰资讯(微信号公众号:hiwing_news )授权发布


摘 要采用专利定量分析和定性分析手段,结合其它情报分析方法,以美国发动机领域的顶尖企业航空喷气公司(Aerojet),在1946年至2014年3月期间公开专利为主要研究对象,分析其发展历程及其在高超声速领域的核心技术,展现其经历成长期、快速增长期、投资多元化期、衰退期到复兴期的公司发展历程,并研究航空喷气公司在高超声速领域的中心燃烧技术、先进组合循环整合进气道技术和气动阻塞技术及其优势,最后提出了在管理和技术方面的结论和启示。


1


航空喷气公司于1942年由西奥多·冯·卡门博士组建,是美国传统的军火公司,主营固体、液体火箭发动机的设计、制造及生产,曾参与双子星座计划、阿波罗计划等美国多项航空航天项目。2013年,航空喷气公司的母公司GenCorp以5.5亿美元收购了期业内竞争对手普惠·洛克达因公司(Pratt&Whitney’s Rocketdyne),成立了AerojetRocketdyne公司。集美国两大主要火箭动力供应商之力形成的Aerojet Rocketdyne公司,在发动机领域的实力和地位实现了质的飞跃。


从Aerojet到Aerojet Rocketdyne,航空喷气公司一直专注于发动机的研制生产,70余年来积累了雄厚的专利资源,并在该领域拥有先进的核心技术,成为世界顶尖的发动机制造商。


近年来,航空喷气公司在高超声速领域成果显著,提出了“T/RBCC”[1]、“中心燃烧”[2]等新技术,并与洛马公司臭鼬工厂合作,开展了SR-72高超声速无人侦察机的发动机研究。


本文以航空喷气公司1946年至2014年3月的公开专利为主要研究对象,结合该公司年报及其他情报信息,分析了其经营发展和技术研发历程,并针对其高超声速的核心技术,进行了技术方案的研究,最后提出了其发展和技术应用的结论及启示。

2 航空喷气公司发展历程分析


航空喷气公司成立70多年来产生了2000余项专利,其专利公开趋势如图1所示。专利公开趋势初步展现了航空喷气公司经历成长期、快速增长期、业务扩展期、衰退期到复兴期的公司发展历程。


图1 航空喷气公司1946年至2013年专利公开趋势图

注:专利申请一般自申请日后18个月公开,所以航空喷气公司20129月后申请的专利可能尚未公开,2012年、2013年和2014年的专利申请数可能大于图表所示,专利申请量划分也依据公开时间大致后推18个月。专利检索时间截至2014331日,检索平台为汤森路透公司的TI平台。


1.1 成长期


航空喷气公司自公司成立至20世纪50年代中期,处于成长期,专利申请量逐年走高。


航空喷气公司的喷气辅助起飞技术(JATO)在二战中得到广泛应用,这是一项能让装载量较大的飞机从短的跑道和载体甲板起飞的新技术。自成立后,公司进入了成长期,专利申请数量逐年走高。GenCorp公司预测到航空喷气公司的良好发展前景,于1948年收购了航空喷气公司。为了提升创新能力,航空喷气公司也吸纳了一些德国V-2火箭计划的科学家。20世纪50年代初,航空喷气公司开始制造洲际弹道导弹、制导面空导弹和潜射导弹的推进系统,创新能力不断迸发,公司规模逐步扩大。


1.2 快速发展期


50年代末至70年代初,航空喷气公司的专利申请量开始呈现爆发性增长,年专利申请量最高接近160项。“太空竞赛”为航空喷气公司带来了几个开创性的政府投资项目,包括大力神运载火箭、双子星载人飞船、海盗号火星探测器等重大项目的推进系统研制,同时,航空喷气公司在越南战争中承担了大量军械生产任务,促进了航空喷气公司的技术创新。技术创新为航空喷气公司带来了丰硕成果,1969年,该公司生产的火箭发动机成功将美国宇航员送上月球。


1.3 投资多元化期


70年代中后期,航空喷气公司开始推行投资多元化,旗下有14家公司在运营,业务领域包括能源、化工、建筑、零部件生产、食品调味剂等,但是,航空喷气公司的专利申请量并没有随着业务规模的扩大而攀升,反而有所下降,这可能是由于公司高层的注意力更多地放在投资而非技术研发。航空喷气公司的母公司GenCorp逐渐认识到了这个问题,80年代初,剥离了航空喷气公司的部分附属公司,促使其专注于航空业务。1988年,公司的年销售额达到10亿美元。但前期的业务快速扩展也为航空喷气公司埋下了祸根。由于开展了大量化工业务,公司卷入了环保诉讼并被政府勒令开展地下水污染清理工作,根据美国总审计局的估算,其费用可能高达10亿。这无疑给公司带来了巨大的经营压力,这可能也是专利申请量减少的一个重要因素。


1.4 衰退期


自90年代开始,航空喷气公司进入了“衰退的十年”,一是由于前期环保问题带来的损失,二是因为大部分年份美国政府的国防预算出现了负增长(如下图所示),三是1993年美国国会取消了由航空喷气公司和洛克希德·马丁公司共同提供航天飞机固体燃料火箭发动机的计划。90年代前几年,航空喷气公司的专利申请量较低,后期在公司开展了两次大规模裁员,并出售了部分业务后,专利申请量有所上升。


图2 美国年度国防支出及占年度GDP和财政支出趋势


1.5复兴期


2000年后,为进一步提升发动机领域的实力,航空喷气公司进行了三次大规模的业务并购和整合,一次是针对雷蒙德航天动力和灭火业务(Redmond-based Space Propulsion and Fire Suppression),第二次是针对大西洋研究公司(ARC)的空间推进业务,第三次是与洛克达因公司的合并。以上调整促使航空喷气公司完成了在卫星推进及战术导弹系统领域的能力组合,企业开始再次恢复活力,专利申请数量开始上升。


3 航空喷气公司技术研发历程及高超声速核心技术分析


专利分析发现,60年代至90年代,航空喷气公司申请的专利大量集中在发动机相关技术、精细化学品、灭火装置以及合金工艺几大领域,其中,发动机相关技术专利约占30%。这与公司当时的经营业务实际情况比较相符。90年代,航空喷气公司也开展了医疗领域的专利布局,如止血带等。2000年后,虽然年专利申请量不大,但是其专利明显集中于发动机相关技术,且专利分布的技术领域更加细化,包括燃烧室和喷管技术、进气道技术、发动机冷却技术和点火技术等,形成了武器推进领域和太空推进领域并行发展的格局。这在一定程度上反映出航空喷气公司业务格局已从多样化经营逐渐转型为专注并加强发动机领域研究,发动机领域的研发实力更为强大。这一方面是因为20世纪90年代,航空喷气公司出售了其精细化学品业务,停止了相关研究和生产,集中研发力量从事用于战略、战术导弹的固体、液体发动机和吸气式发动机的研究,另一方面是由于军方对发动机技术需求的增加。


通过对航空喷气公司的2055项专利进行筛查,结合同族专利数量,得到航空喷气公司高超声速核心技术,主要是其提出的整合了TBCC和RBCC的一种新型组合循环推进系统(T/RBCC)[3],其中的关键技术包含:中心燃烧技术、组合循环整合进气道技术和气动阻塞技术。


3.1 中心燃烧技术[4-5]


专利文献显示,航空喷气公司的核心发明人MelvinJ. Bulman 申请了US2008/0092519A1(公开号)和US7797943B2(专利号)的2项专利,详细阐述了中心燃烧的工作原理、具体方案及先进性。


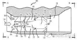
图3 中心燃烧超燃冲压发动机的结构图

14-主隔离段;16-来流;18-主燃烧室;19-燃料;40-超燃冲压发动机;43-引导器;44-支板;50-引导隔离段;52-引导扩散段;54-引导火焰稳定器;56-引导燃烧室;66-引导气流;68-激波串;70-超声速核心气流;72-亚声速边界层;76-引导喷嘴; 80-引导器的热排气;82-引导喷管;84-主流


如上图所示,航空喷气公司专利中的超燃冲压发动机从前到后依次为进气道、隔离段、燃烧室和喷管。该技术的创新点在于在隔离段中设有轴对称引导器。引导器包括引导隔离段、引导扩散段、火焰稳定器、引导燃烧室和引导喷管。引导隔离段与发动机的进气道出口相通,引导燃烧室的出口与主发动机燃烧室的进口相通。引导器中心体外表面与隔离段内壁通过多个支板相连。


中心燃烧技术旨在解决高超声速飞行条件下燃烧室内长期存在的极限热载荷,可显著减少冷却发动机燃料用量,从而使发动机获得比常规设计更大的热安全裕度或更高的飞行速度。T/RBCC发动机通过采用中心燃烧技术,可使发动机热载荷降低40%~50%;通过采用火箭引射冲压发动机,可使高超声速飞行器实现马赫数从0到7的无缝过渡。由于具有这些优势,该技术成为可重复使用高超声速飞行器的最具吸引力和潜力的动力方案之一。


3.2 先进组合循环整合进气道技术(ACCII[6]


目前,组合循环发动机必须克服的技术难点包括:跨声速推力低谷、低马赫数进气道启动、尚无可以加速到马赫4以上的涡轮发动机、存在过渡区推力低谷、巡航时热平衡以及没有适合组合循环发动机的全尺寸自由射流地面实验设备等。


航空喷气公司组合循环整合进气道采取的技术方案是在远离流路中心线的位置向助推器开口,使得向内翻转流路自身具有较高的喷管和进气道整合性能,从而实现进气道形变。为了增加流动匹配和满足空气分布的需要,进气道形变中的收缩必须能够获得优良的加速性能。



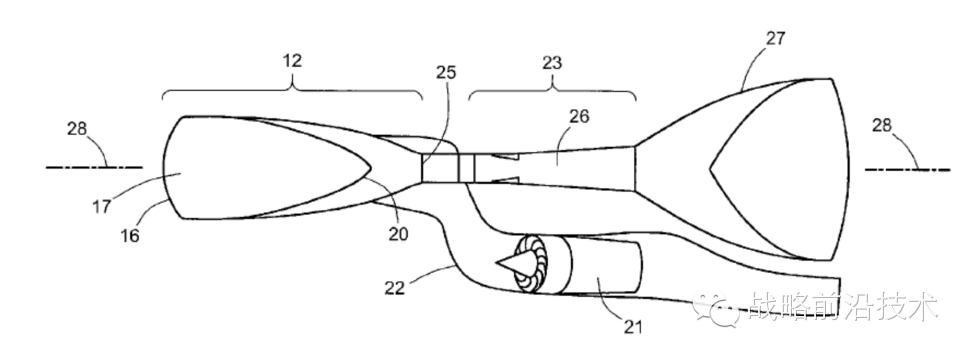
图4 先进组合循环整合进气道结构图

12-进口;16-通道;17-上唇口;20-气流下游端;21-助推发动机;22-通道;23-冲压式喷气发动机;25-喉道; 26-燃烧室;27-分流区;28-纵轴;


作为航空喷气公司的主要发明人之一,MelvinJ. Bulman在其公开号为US7216474的专利中,阐述了这种先进组合循环整合进气道技术(ACCII)的工作原理和先进性。如上图所示,该技术的创新点在于在进气道内部通过可以移动的机构来调整组合发动机进气道气流的流动,从而避免了发动机或者发动机气流捕获部位的变形,这样可以避免可活动的前缘暴露在空气中,达到确保发动机高效工作并最小化激波的结果。


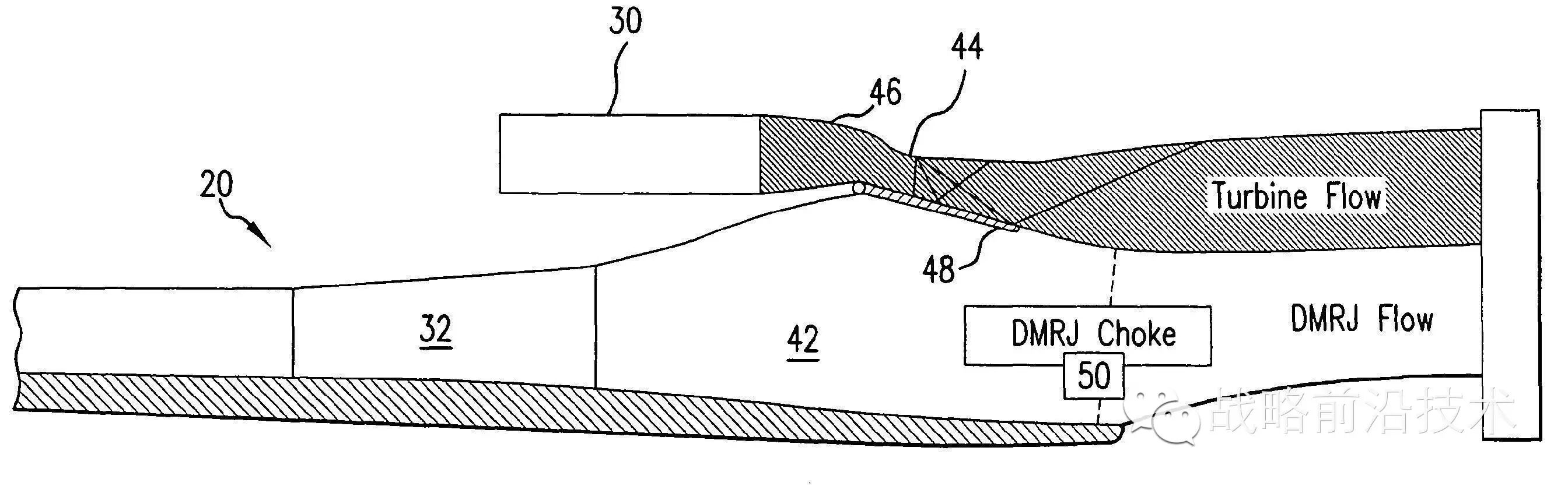
3.3 气动阻塞技术[7]


专利分析发现,气动阻塞是航空喷气公司高超声速领域的TBCC发动机方案的一个重大创新。其工作原理是利用涡轮发动机欠膨胀(Underexpanded)的排气,在DMRJ(Dual Mode Ramjet,双模态冲压发动机)燃烧室的后部形成气动阻塞(Aerodynamic Choke),形成一个新的燃烧区域。其优点是在保持进气道启动的情况下,提升DMRJ在较低马赫数时的推力。


图5 气动阻塞形成示意图

20-发动机;30-涡轮发动机;32-燃烧室;42-发动机喷管;44-助推发动机;46-气流;48-喷管盖;50-气动阻塞;


气动阻塞实现的技术手段主要有两个,一是合理安排涡轮发动机排气口和DMRJ的相对位置,二是合理设计喷管盖,能有效调节涡轮发动机进入集成喷管的排气,以便形成气动阻塞。需要特别注意的是,集成喷管的截面要大于DMRJ燃烧室的截面。


要提升DMRJ燃烧室面积率,从而增加DMRJ推力,还可采用其他的复杂可变喷管技术,但是航空喷气公司采取的上述方法在喷管几何外形不变的情况下就实现了内部燃烧面积的变化,不失为一种相对简便的方法,对高超声速飞行器发动机的工程运用具有很好的借鉴意义。


3.4 其它高超声速技术


除上述核心技术外,航空喷气公司还申请了其它的高超声速相关技术,包括能降低控制复杂度的喷气冲压发动机(公开号:US5327721A)、适用于小半径前沿的高超声速飞行器蒸发式冷却系统(公开号:US5452866A)、高超声速飞行器发动机燃油加注系统(公开号:US5220787A)等。


4 结论和启示


4.1 航空喷气公司发展历程与外部政治、军事环境关系密切,合理选择辅业有助于防范经营风险


从专利可以初步看出航空喷气公司的兴衰及复兴的发展史:公司的成立和发展壮大离不开政府投资项目、越南战争等外部政治、军事因素,其衰退也与政府投资的撤销或缩减密切相关。后期航空喷气公司进行了战略调整,但其研发重心依然放在了与政府投资项目密切相关的飞行器发动机业务上。但是,为了降低经营风险,防止“衰退期”的再次出现,航空喷气公司也合理选择了军品发展的辅业,结合自身技术储备,发展了在医疗等领域应用的副产品和相关产业。


4.2掌握核心技术的发动机业务逐渐成为航空喷气公司的发展重点,技术型公司业务扩展需合理的技术储备为基础


在经历了长时间的衰退期后,航空喷气公司逐渐认识到前期的盲目扩张可能会给企业带来毁灭性的灾难,业务的多元化发展必须以核心技术作为基础,否则不可持续。因此,掌握核心技术的发动机业务成为航空喷气公司的发展重点。


4.3 航空喷气公司掌握的高超声速飞行器核心技术具有一定的工程实现性


航空喷气公司的中心燃烧技术、组合循环整合进气道技术和气动阻塞技术是提升高超声速飞行器发动机性能提升的有益尝试。以上技术巧妙的技术思路和技术手段,如利用喷管盖形成气动阻塞,可以组合或分别应用到相关研究中。由于以上技术是在涡轮发动机及冲压发动机等现有研究基础上的改进,基础技术较为成熟,易实现重复使用,能有效降低成本,并且达到了较好的效果,因此具有较好的工程实现性。


[1]沈娟,倪汉昌,张翼麟.组合循环推进系统——航空喷气公司关于高超声速飞行器的新方案[J].飞航导弹,2011,12:59-65.

[2] 唐苗,李文杰.美国研发一种新型燃烧技术——中心燃烧[J].飞航导弹,2011,10:80-83.

[3] Melvin J. Bulman, Adam Siebenhaar. Combined Cycle Propulsion:Aerojet innovations for practical hypersonic vehicles [R], AIAA2011-2397.

[4]Melvin J. Bulman, Core burning for scramjet engines. US,7797943[P] 2010-09-21.

[5]Melvin J. Bulman. Core burning for scramjet engines, US, 2008/0092519[P]2008-04-24.

[6]Melvin J. Bulman. Combined cycle integrated combustor andnozzle system. US, 7886516 [P] 2011-02-15.

[7]Melvin J. Bulman, Frederick S. Billig, Integrated air inletsystem for multi-propulsion aircraft engines, US7216474[P] 2007-05-15.


作者简介:

李夜兰,女,硕士学位,主要从事知识产权管理和政策研究、专利分析。

白洋,女,本科,主要从事知识产权管理和政策研究。

周鹏,男,硕士学位,主要从事专利分析。

李峰,男,硕士学位,主要从事专利分析。

张鸣宇,男,硕士学位,主要从事专利分析。

通信地址:北京7254信箱5分箱(100074

Tel: 010-68743704

E-mail: yelan322@sohu.com

(来源:海鹰资讯,作者:北京海鹰科技情报研究所 李夜兰,白洋,周鹏,李峰,张鸣宇)


海鹰资讯

北京海鹰科技情报研究所官方资讯平台。涵盖科技情报研究、信息咨询、标准化研究、知识产权研究、档案管理、资料翻译、科技刊物编辑出版、文献检索、影视传媒等多个专业领域。




【战略前沿技术】
引领科技创新发展
1

微信公众号:tech999

个人微信号:tech9999

邮箱:2669537857@qq.com


【战略前沿技术】2014-2015年历史文章目录已上线,回复“目录”即可查看,敬请关注!

【战略前沿技术】已开通原创、评论以及对原创作品的打赏功能

欢迎评论:对于文章有任何问题和看法,请移步文末进行吐槽和评论!

欢迎投稿:对于原创性作品将优先发表,并将获得读者打赏的全部!

欢迎打赏:请对原创作品随意和任性打赏,打赏将全部归作者所有!

2015年5月十篇精华文章(按阅读量排名)

请关注后【战略前沿技术】后,点击历史信息或回复201505查看。2015年1-4月精华文章,请分别回复201501、201502、201503、201504查看。

日期标题

20150525

数学大师丘成桐:中国的科技至少要倒退20年

20150516

中国工程院院士增选有效候选人名单公布

20150516

真正的黑科技,你绝没见过的无人机应用

20150503

未来的战争:德国工业4.0与中国制造2025

20150508

科研经费管理新规:劳务费从15%变为上不封顶

20150525

北斗的复仇

20150517

2025年的世界:对未来十年的8个预言

20150523

大学之癌——有的教授他是官

20150529

华为是如何创新的?

20150509

发达国家发展工业机器人的主要做法和启示