刚刚
深圳市龙岗区新型冠状病毒肺炎
疫情防控指挥部发布通告
即日起龙岗区全域(除布吉街道外)
所有外卖、快递等不进入社区小区、城中村
全区各类公园关闭
居民非必要不外出
室内密闭场所暂停营业
所有培训机构(含托管)暂停线下服务
详情如下
深圳市龙岗区新型冠状病毒肺炎
疫情防控指挥部通告
〔2022〕4号
为应对当前疫情防控形势,严控疫情传播风险,尽快实现社会面动态清零,更好保障居民群众健康安全,经综合研判,决定即日起在龙岗区全域(除布吉街道外)实行如下管控措施:
一、社区小区、城中村实行严格管理。各类卡口24小时值守,严格执行体温必测、口罩必戴。南湾街道、坂田街道、吉华街道、平湖街道四个街道查验24小时核酸阴性证明或24小时内核酸采样记录;横岗街道、园山街道、龙岗街道、龙城街道、坪地街道、宝龙街道六个街道查验48小时核酸阴性证明或48小时内核酸采样记录。居民进出须在“电子哨兵”打卡登记或扫“场所码”。全面实行“居民白名单制”管理,非本小区、城中村居民非必要情况谢绝进入。
二、所有外卖、快递等不进入社区小区、城中村,实行无接触配送,在社区小区出入口、城中村指定区域中转存取,外卖快递从业人员由所在企业负责组织“一日一检”和健康申报。
三、强化社会面管控,严格限制人员聚集。
1.大型会议、活动、论坛、演出、展销促销等暂停举办,暂停游园、集市、广场舞等活动,全区各类公园关闭。居民不串门、不扎堆、不聚集,非必要不外出。
2.批发市场(农贸市场、农产品批发市场除外)和卡拉OK、电影院、健身房、棋牌室、麻将馆、网吧、酒吧、KTV、剧本杀、密室逃脱、游泳馆、桑拿、按摩、足疗、水疗、养生理疗等室内密闭场所暂停营业,所有培训机构(含托管)暂停线下服务。
3.超市、农贸市场加强通风,限制人流,提倡非现金支付,控制餐馆、公共食堂经营规模和营业时间。南湾街道、坂田街道、吉华街道、平湖街道四个街道暂停堂食;横岗街道、园山街道、龙岗街道、龙城街道、坪地街道、宝龙街道六个街道堂食接待顾客量不超过最大承载量的50%。
四、辖区居民增强个人防护意识,有序配合防疫行动,继续开展大规模核酸检测,确保“应检必检、不落一人”,后续根据需要确定核酸检测频次。落实“测温、扫码、戴口罩”等防控措施,做好自我健康监测,如出现咽痛、干咳、发热、乏力、嗅觉减退等症状,立即向所在社区报告,就近前往发热门诊就诊,就诊途中要严格做好个人防护,正确戴好口罩,避免乘坐公共交通工具。
上述措施实施时间为2022年8月29日19时至9月2日19时,后续根据疫情防控形势动态调整。高、中风险区和临时管控区继续参照有关防疫政策执行。对不履行主体责任、拒不执行防疫要求造成疫情传播的企业和个人,将依法追究责任。
感谢广大居民朋友支持理解配合!
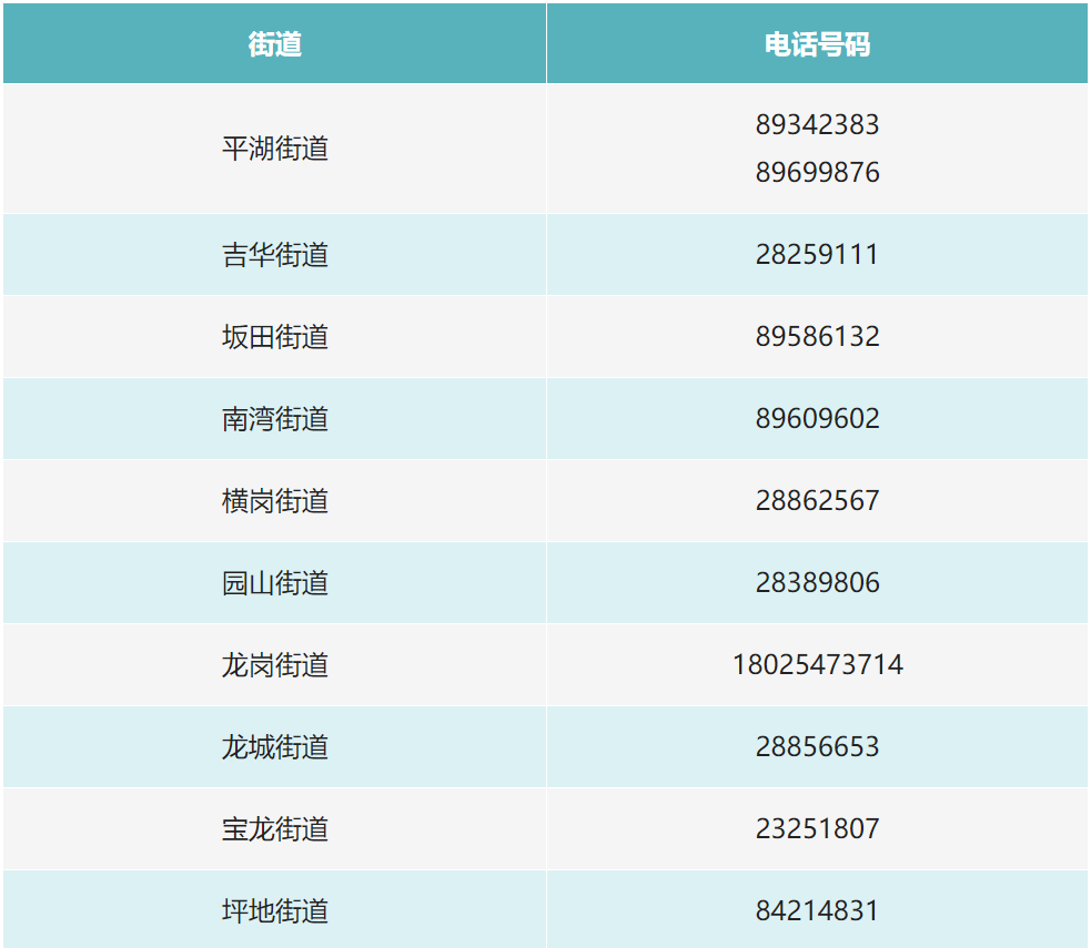
如遇生活、就医等问题,请拨打街道暖心服务热线:
深圳市龙岗区新型冠状病毒肺炎
疫情防控指挥部
2022年8月29日
🏃🏃🏃
*有什么想说的,欢迎给我们留言哦*
👀
深圳大件事(nandusz)、N视频报道
来源:深圳龙岗发布
编辑:李晶
更多独家猛料,点击下方关注我们
▽
我国实施一对夫妻可以生育三个子女政策及配套支持措施,三孩生育政策对您的生育意愿有影响吗?最近几年有生娃的打算吗?赶紧点击下方图片写下你的答案↓↓↓