来源:药渡
撰文:杨哲 编辑:丸子
根据《中国居民营养与慢性病状况报告(2020)年》与弗若斯特沙利文统计数据:中国成年居民的超重或肥胖人群占比已达50.7%,中国肥胖人口总数量预计在 2030 年达到 3.3 亿人。
随着居民健康意识的提高,人们对于体重管理的需求也在不断增加。而我国抗肥胖药物(anti-obesity medications, AOMs)产业却处在十分尴尬的境地。目前我国CFDA批准上市的抗肥胖药物仅有奥利司它一款产品。
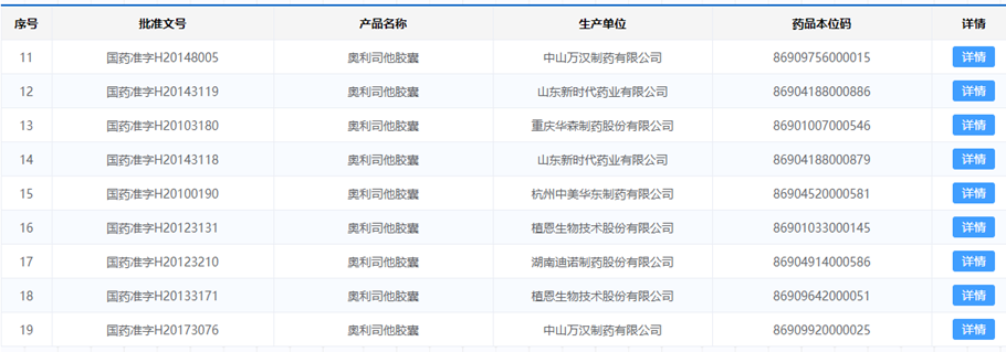
国内生产奥利司他的厂商众多(图1),同质化竞争严重。同时奥利司他作为一种强效胰脂肪酶抑制剂,不良反应较多,减肥效果并不显著。随着国家对AOMs相关政策的放开,市场急需新型AOMs药物的入场。
本文将对目前国内外主流抗肥胖药物产品管线及入局公司进行简要梳理。
图1:国内奥利司他药物上市产品
(来源:CFDA官网)
1
国外抗肥胖药物主要管线
国外抗肥胖药物的发展较早,政策较为宽松。截至2021年,除奥利司他外,FDA还批准了其余6款具有抗肥胖功能的药物。但出于安全性及成熟性考虑,目前这些药物均未在中国获批用于抗肥胖治疗,6款AOMs药物列表整理如下:
表1:目前FDA批准上市的减肥药物及其存在风险
目前已上市的减肥药物均以抑制中枢神经食欲为主要方式。然而部分药物作用具体机理未知,药物安全性成问题,这也是目前国家迟迟不批准新的AOMs药物入局的根本原因。但随着部分药物使用的长期安全性得到验证以及全国肥胖人口的增多,目前我国的相关政策正在逐步放宽。其中,诺和诺德旗下的GLP-1受体激动剂系列药物最有希望突出重围。
根据2021年柳叶刀杂志对目前已上市减肥药物临床试验数据的分析可知,芬特明-托吡酯(phentermine–topiramate)是目前上市药物中最有效的减肥药(体重减轻≥5%的优势比[OR] 8.02, 95% CI 5.24-12.27;体重减轻百分比的平均差[MD] -7.97, 95% CI -9.28~-6.66),其次是GLP-1受体激动剂([OR] 6.33, 95% CI 5.0-8.0; [MD] -5.76, 95% CI -6.3~-5.21),但GLP-1受体激动剂相对芬特明-托吡酯诱发严重不良反应的几率更低,这证实了GLP-1受体激动剂在抗肥胖药物应用领域的强发展潜力。
除上述成熟的抗肥胖药物产品外,目前国外药企也在迅速布局涵盖GLP-1受体激动剂在内的多种新型抗肥胖及减重产品,其主要入局公司如下:
1Novo Nordisk
目前诺和诺德主要还是围绕GLP-1受体激动剂进行抗肥胖药物开发,意在攻克GLP-1受体激动剂药物的长效性壁垒。其官网数据显示,目前诺和诺德共有四条AOMs管线处于临床开发阶段,如下图所示(图2):
图2:诺和诺德AOMs管线分布
(来源:诺和诺德官网)
Cagrisema及LA-GDF15均为长效GLP-1类似物。
Cagrisema为长效amylin(胰淀素)类似物cagrilintide和长效GLP-1受体激动剂司美格鲁肽的双重复合制剂。其中,司美格鲁肽是目前诺和诺德公司的降糖王牌产品之一,仅2022年第一季度营业额便达到18.29亿美元。将其与cagrilintide这一能促进饱腹感的长效胰淀素类似物共同应用,意在加强司美格鲁肽的减重效果。
目前该药物处于临床I期开发阶段,效果值得期待。
CDE数据显示,诺和诺德于今年6月10日递交了Cagrisema国内临床试验申请,国内市场野心巨大。
Oral Sema Obesity为口服型司美格鲁肽,也属于GLP-1受体激动剂,主要是改善司美格鲁肽注射剂患者依从性不好的缺陷。事实上,司美格鲁肽对于肥胖患者减重的实验结果十分惊艳。
18年发表在柳叶刀杂志上的II期大规模实验结果显示,在受试的957名患者中, 0.1-0.4mg/天的司美格鲁肽注射量治疗组与安慰剂治疗组相比,受试者体重均产生了显著下降,减重效果强于0.3mg/天注射的利拉鲁肽治疗组。在第52周,司美格鲁肽0.4mg/天治疗组患者平均体重下降了16.3%(图3),且所有受试者均未产生任何不良反应。
司美格鲁肽口服剂型的开发更利于其在抗肥胖药物市场的应用,真正做到“无痛减肥”,市场前景巨大。据悉,诺和诺德将在今年内于国内提交Oral Sema Obesity的上市申请。目前辉瑞制药也有口服小分子GLP-1受体激动剂药物正处于临床II期阶段。
图3:司美格鲁肽的减重效果
(来源:诺和诺德官网)
除了GLP-1受体激动剂系列产品外,诺和诺德也布局了肽酪氨酸酪氨酸(PYY)类似物的药物管线开发,即PYY1875。肽酪氨酸酪氨酸(PYY)是神经肽Y(NPY)家族的成员,可抑制中枢神经,减少食欲,从而达到减轻体重的效果。PYY1875的安全性良好,目前已进入II期临床阶段。
2Eli Lily GLP-1
图4:礼来官网中对Trizepatide的报道
在礼来官网最显著的位置,标注着Trizepatide三期临床的惊人效果。受试的的2539名志愿者在经过72周的治疗后,服用Trizepatide 5mg,10mg,15mg及安慰剂的患者体重分别下降了原始体重的16%,21.4%,22.5%及3.1%。在15mg Trizepatide治疗组中,有人在经历72周Trizepatide的治疗后体重竟减少了24千克,且无任何强烈的不良反应。Trizepatide的优异成效使其成为了目前抗肥胖药物市场的明日之星。
Trizepatide是一种同时具有GIP(葡萄糖依赖性促胰岛素多肽)受体和GLP-1(胰高血糖素样肽-1)受体激动效果的新型药物。礼来利用将两种肠促胰岛素的作用整合到一个新的分子中的策略,补充了GLP-1受体激动剂作用效果,达到了1+1>2的惊艳疗效。
与此同时,礼来更是借着Trizepatide的东风开启了肥胖患者关爱计划,意图深耕抗肥胖药物市场。目前礼来除了Trizepatide还在同时开发的AOMs临床管线如下图所示(图5):
图5:礼来的AOMs研发管线
(来源:礼来官网)
目前礼来处于I期临床的产品是一种长效胰淀素类似物。处于II期临床的GGG Tri-Agonist则是在Trizepatide的基础上,开发出的一种能同时激动GIP,GLP,GLP-1受体的三重激动剂,希望达到1+1+1>3的效果,重现Trizepatide的成功。同样处于II期开发阶段的GLP-1 Receptor NPA产品则是礼来最新研发的的化学小分子GLP-1受体激动剂。它能跨过大分子药物的吸收和代谢壁垒,适用于后期开发的更多剂型,如缓释制剂等等,有望解决目前GLP-1受体激动剂大多半衰期短的瓶颈,其临床结果同样值得期待。
3韩美制药
韩美制药是韩国的第一大制药公司,目前其在减肥药物研发方面有一款药物正处于临床前研发阶段,名为HM15136。HM15136是一种长效胰高血糖素类似物,通过非肽基柔性连接物(LAPSCOVERY)与人免疫球蛋白恒定区化学结合增强其体内半衰期。其利用的是胰高血糖素受体兴奋的生理效应(抑制食物摄入、增加能量消耗和改善脂质代谢)。在临床前研究中,观察到该药物显著的减肥效果和改善血脂状况。其具体原理如图6所示:
图6:HM15136治疗肥胖的简要机理
(来源:韩美制药官网)
4Versanis bio
Versanis bio是一家诺华背景的公司,于2021年成立,主攻肥胖治疗方向,其主要管线产品为Bimagrumab。
Bimagrumab是一种独特的单抗,能靶向激活素II型受体(ActRII),通过与相关受体的结合,阻断包括激活素A和肌生长抑制素在内的激素的作用,刺激骨骼肌生长。在临床前实验中发现,Bimagrumab可以促进褐色脂肪细胞的分化和活性,促进机体燃烧能量。其机理可简要概括成在增肌的同时,完成了脂肪细胞的转化,是理想中的减肥产品。
目前该产品已进入了II期临床阶段,在对于569名非糖尿病患者的随机临床试验中,最高剂量治疗组在24周减掉了14.6%的纯脂肪重量,在48周减掉了20.5%的纯脂肪重量,且肌肉重量增加了3.6%,而安慰剂组各项指标基本不变。该临床实验结果是十分惊人的,真正做到了只减脂肪并增加肌肉的效果,期待后续临床结果的披露。
2
国内抗肥胖药物主要管线
相比于国外抗肥胖药物研究的繁荣,目前国内制药企业在AOMs领域主要集中于GLP-1受体激动剂药物的开发,尤其是在利拉鲁肽核心专利到期(化合物专利2017年已到期,晶体专利2022年到期),2022年1月21日CDE发布了《利拉鲁肽用于体重管理的临床试验设计指导原则》后,以华东医药为首的各国内厂商快速挤入利拉鲁肽仿制药及多靶点GLP-1受体激动剂药物研究赛道。
1华东医药
从华东医药官网上披露的其内分泌及肥胖药物研发管线中不难看出其对于GLP-1受体激动剂药物的前瞻性布局(图7)。
其直接对标诺和诺德Saxenda的仿制药物利拉鲁肽注射液一骑绝尘,2022年第二季度便进入了上市申请阶段,有望成为国内第一家GLP-1受体激动剂抗肥胖药物的吃螃蟹玩家。
同时其GLP-1相关创新性药物也层出不穷,TTP273作为全球创新小分子GLP-1受体激动剂,走的是First-in-class药物快速审批通道,已于2022年1季度完成II期临床试验的末例受试者出组。
DR10624作为GLP-1R/GCGR/FGF21R靶点的多重激动剂,可用于2型糖尿病、肥胖和代谢综合征等疾病的治疗,已于2022年4月获批在新西兰开展I期临床试验。
与此同时,由于诺和诺德司美格鲁肽的核心专利将于2026年到期,华东医药迅速布局了司美格鲁肽仿制药的临床试验申请,目前其IND已于2022年4月获得受理。华东医药在抗肥胖药物的产业布局之深可见一斑,是我国当之无愧的抗肥胖药物研发“卷中之王”。
图7:华东医药内分泌及减肥药物研发管线
(来源:华东医药官网)
2爱美客
截止2022年08月11日收盘,爱美客(300896)收盘价579.00元,可谓是中国的医美第一股,可看出投资者们对于中国大健康及医美市场的极高信心。
从光大证券对爱美客的企业分析报告中可以了解到,目前爱美客在抗肥胖药物领域主要有布局有两款产品,一款是诺和诺德利拉鲁肽的仿制药,目前已经进入了I期临床阶段,一款是溶脂针产品去氧胆酸。去氧胆酸可溶解局部的脂肪细胞膜,导致脂肪细胞分解,从而达到去除脂肪的目的。
目前全球范围内,已上市的去氧胆酸溶脂药物只有艾尔建旗下的 Kybella ,且适应症被严格限定于去除颏下脂肪(双下巴)。该款产品在 2015 年被 FDA 批准。当前,国内在研的溶脂针产品的企业仅有爱美客,科笛生物及南京诺瑞特生物三家。爱美客的溶脂针产品预计于2023年进入临床试验阶段。
3上海仁会
仁会生物的官网近日发布了其创新药贝那鲁肽的真实世界临床研究数据,其减重效果尤为振奋人心。
贝那鲁肽是中国糖尿病领域第一个创新药,也是国内首个拥有自主知识产权的 GLP-1 受体激动剂,于 2017 年上市。对中国两家医院(唐山市迁安燕山医院、秦皇岛市中医医院)的 314 例 T2DM 患者数据进行分析,贝那鲁肽治疗3个月后患者体重平均降低10.05kg(图8),HbA1c 平均降低 2.87%。
作为完全我国自研的创新药,其具备和人体完全同源的氨基酸序列,更加适合国人体质。贝那鲁肽已被收录入《中国II型糖尿病防治指南(2017年版)》中。作为临床常用GLP-1受体激动剂制剂,有望超过利拉鲁肽,成为国产减肥药物的后来居上者。目前其治疗肥胖适应症的临床试验已经进行到临床III期,药渡将关注其是否会在后期对贝那鲁肽进行长效性和口服制剂的开发。
图8:贝那鲁肽的减重效果
(来源:上海仁会生物官网)
4恒瑞医药/信达生物/东阳光
GLP-1受体激动剂等抗肥胖药物的火爆及国家政策的放开使得国内制药巨头们也加入抗肥胖药物研发大军。
目前恒瑞医药,信达生物,东阳光均有一款GLP-1受体激动剂自研创新药进入临床阶段。
恒瑞医药的诺利糖肽(HS-20004)目前已经进入了II期临床阶段,是一款经棕榈酸修饰的GLP-1类似物。通过氨基酸序列的改造,诺利糖肽既保证了生物学活性,又增强了抵抗DPP-IV酶解的能力。诺利糖肽结构中的棕榈酸还会与血清蛋白结合,延长其体内半衰期,达到长效作用的效果。
而信达生物则选择了和礼来Trizepatide 1+1策略的相似研发方案,其GLP-1R/胰高血糖素受体(GCGR)双重激动剂mazdutide (研发代号:IBI362)目前也进入了II期临床。
东阳光则是在寻找减肥新靶点的道路上另辟蹊径,其创新药物HEC88473是国内首个获批临床的GLP-1/FGF21双重激动剂,FGF21在与其体内受体结合后,能促进体细胞的脂肪酸代谢以及胰岛素敏感性,目前位于I期临床阶段。
5甘李药业
对于中国糖尿病患者来说,甘李药业绝不陌生。甘李药业于1998 年成立,是国内首家掌握产业化生产重组胰岛素类似物技术的企业,深耕于国内糖尿病胰岛素领域。
甘李药业是国内首家实现三代胰岛素生产的糖尿病头部企业,突破了三代胰岛素由外企垄断的国内尴尬局面,据CDE官网数据显示,目前三代胰岛素中的门冬胰岛素仅有甘李药业一家国产企业于2020年获批上市。
GLP-1受体激动剂药物的发现发展与糖尿病治疗密不可分,其研发初始治疗方向便是II型糖尿病。因此,深耕于糖尿病治疗领域的甘李药业也早早布局了GLP-1受体激动剂药物。
其自主研发的长效GLP-1受体激动剂GZR18目前也进入了I期临床阶段,并已完成了首例受试者给药,预计给药每周一次。作为糖尿病治疗领域研发头部企业,手握中国众多糖尿病患者一手数据,其能否在GLP-1受体激动剂药物与胰岛素联合用药治疗肥胖的方案上做出新的尝试,为肥胖治疗提出国产化联合用药方案,突出重围,药渡将持续关注。
3
结语
中国的减肥药物产业在经过了长久的沉寂之后,众多制药企业纷纷入局,究竟谁能脱颖而出,吃下国产减肥药物的第一口螃蟹,值得期待。而减肥药物的市场在GLP-1受体激动剂药物火爆之后,能否在肠脑轴,基因治疗,肠道菌群等研究中发现新的治疗靶点,则是众多研发者和制药企业们值得深思的方向。
参考文献:
1.Shi Qingyang,Wang Yang,Hao Qiukui et al. Pharmacotherapy for adults with overweight and obesity: a systematic review and network meta-analysis of randomised controlled trials.[J] .Lancet, 2022, 399: 259-269.
2.Müller Timo D,Blüher Matthias,Tschöp Matthias H et al. Anti-obesity drug discovery: advances and challenges.[J] .Nat Rev Drug Discov, 2022, 21: 201-223.
3.O'Leary Karen,An anti-obesity drug from the diabetes toolbox.[J] .Nat Med, 2022,
4.Geng Leiluo,Lam Karen S L,Xu Aimin,The therapeutic potential of FGF21 in metabolic diseases: from bench to clinic.[J] .Nat Rev Endocrinol, 2020, 16: 654-667.
5.O'Neil Patrick M,Birkenfeld Andreas L,McGowan Barbara et al. Efficacy and safety of semaglutide compared with liraglutide and placebo for weight loss in patients with obesity: a randomised, double-blind, placebo and active controlled, dose-ranging, phase 2 trial.[J] .Lancet, 2018, 392: 637-649.
6.光大证券,2022,《爱美客(300896)投资价值分析报告:医美赛道长期主义的践行者》。
点击"阅读原文",随时掌握行业动态