别问别人为什么,多问自己凭什么!
下方有惊喜,留言必回,有问必答!
每一天进步一点点,是成功的开始...
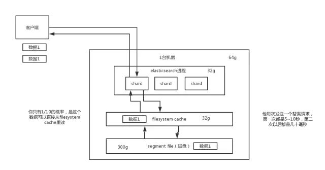
在数据规模很大(比如万恶的trace日志)的时候我们有时候会发现第一次访问查询特别慢,可能有几秒钟的样子,然后后面的访问就很快了,这是为啥?
一、filesystem的影响
es的搜索引擎严重依赖于底层的filesystem cache,如果给filesystem cache更多的内存,尽量让内存可以容纳所有的indx segment file索引数据文件,那么你搜索的时候就基本都是走内存的,性能会非常高。两者差距非常大,走磁盘和走systenfile cache的读取的性能差距可以说是秒级和毫秒级的差距了;有个同学es节点有3台机器,每台机器,看起来内存很多,64G,总内存,64 * 3 = 192g
但是每台机器给es jvm heap是32G,那么剩下来留给filesystem cache的就是每台机器才32g,总共集群里给filesystem cache的就是32 * 3 = 96g内存;
结果es里写了1t的数据,那么一个结点就是333G数据,只有十分之一的数据可以进走内存就返回,剩下的全都走磁盘,这样就导致我们数据可能十秒钟才写到cache再回去;
要让es性能要好,最佳的情况下,就是我们的机器的内存,至少可以容纳你的数据量的一半1. 尽量少存数据(存储搜索条件即可),让内存可以存储更多值最佳的情况下,是仅仅在es中就存少量的数据,存储要用来搜索的那些索引,内存留给filesystem cache的,如果就100G,那么你就控制数据量在100gb以内,相当于是,你的数据几乎全部走内存来搜索,性能非常之高,一般可以在1秒以内比如说现在有一行数据
id name age …30个字段
但是你现在搜索,只需要根据id name age三个字段来搜索
如果你傻乎乎的往es里写入一行数据所有的字段,就会导致说70%的数据是不用来搜索的,结果硬是占据了es机器上的filesystem cache的空间,单挑数据的数据量越大,就会导致filesystem cahce能缓存的数据就越少
仅仅只是写入es中要用来检索
的少数几个字段就可以了,比如说,就写入es id name age三个字段就可以了,然后你可以把其他的字段数据存在mysql里面,我们一般是建议用es + hbase的一个架构。hbase的特点是适用于海量数据的在线存储,就是对hbase可以写入海量数据,不要做复杂的搜索,就是做很简单的一些根据id或者范围进行查询的这么一个操作就可以了如果确实内存不足,但是我们又存储了比较多的数据,比如只有30g给systemfile cache,但是存储了60g数据情况,这种情况可以做数据预热;我们可以将一些高频访问的热点数据(比如微博知乎的热榜榜单数据,电商的热门商品(旗舰版手机,榜单商品信息)等等)提前预热,定期访问刷到我们es里;(比如定期访问一下当季苹果旗舰手机关键词,比如现在的iphone12)对于那些你觉得比较热的,经常会有人访问的数据,最好做一个专门的缓存预热子系统,就是对热数据,每隔一段时间,提前访问一下,让数据进入filesystem cache里面去。这样下次别人访问的时候,一定性能会好一些。我们可以将冷数据写入一个索引中,然后热数据写入另外一个索引中,这样可以确保热数据在被预热之后,尽量都让他们留在filesystem os cache里,别让冷数据给冲刷掉。假设我们有6台机器,2个索引,一个放冷数据,一个放热数据,每个索引3个shard
3台机器放热数据index;另外3台机器放冷数据index
然后这样的话,我们大量的时候是在访问热数据index,热数据可能就占总数据量的10%,此时数据量很少,几乎全都保留在filesystem cache里面了,就可以确保热数据的访问性能是很高的。
但是对于冷数据而言,是在别的index里的,跟热数据index都不再相同的机器上,大家互相之间都没什么联系了。如果有人访问冷数据,可能大量数据是在磁盘上的,此时性能差点就差点吧,就10%的人去访问冷数据;90%的人在访问热数据。
尽量做到设计document的时候就把需要数据结构都做好,这样搜索的数据写入的时候就完成。对于一些太复杂的操作,比如join,nested,parent-child搜索都要尽量避免,性能都很差的。es的分页是较坑的,为啥呢?举个例子吧,假如你每页是10条数据,你现在要查询第100页,实际上是会把每个shard上存储的前1000条数据都查到一个协调节点上,如果你有个5个shard,那么就有5000条数据,接着协调节点对这5000条数据进行一些合并、处理,再获取到最终第100页的10条数据。因为他是分布式的,你要查第100页的10条数据,你是不可能说从5个shard,每个shard就查2条数据?最后到协调节点合并成10条数据?这样肯定不行,因为我们从单个结点上拿的数据几乎不可能正好是所需的数据。我们必须得从每个shard都查1000条数据过来,然后根据你的需求进行排序、筛选等等操作,最后再次分页,拿到里面第100页的数据。你翻页的时候,翻的越深,每个shard返回的数据就越多,而且协调节点处理的时间越长。非常坑爹。所以用es做分页的时候,你会发现越翻到后面,就越是慢。我们之前也是遇到过这个问题,用es作分页,前几页就几十毫秒,翻到10页之后,几十页的时候,基本上就要5~10秒才能查出来一页数据了你系统不允许他翻那么深的页,或者产品同意翻的越深,性能就越差2)类似于app里的推荐商品不断下拉出来一页一页的如果是类似于微博中,下拉刷微博,刷出来一页一页的,可以用scroll apiElasticsearch Scroll API详解
https://blog.csdn.net/meifannao789456/article/details/89400468
[ElasticSearch]Java API 之 滚动搜索(Scroll API)
https://blog.csdn.net/u014589856/article/details/78775233
scroll会一次性给你生成所有数据的一个快照,然后每次翻页就是通过游标移动,获取下一页下一页这样子,性能会比上面说的那种分页性能也高很多很多scroll的原理实际上是保留一个数据快照,然后在一定时间内,你如果不断的滑动往后翻页的时候,类似于你现在在浏览微博,不断往下刷新翻页。那么就用scroll不断通过游标获取下一页数据,这个性能是很高的,比es实际翻页要好的多的多。这个适合于那种类似微博下拉翻页的,不能随意跳到任何一页的场景。因为scroll api是只能一页一页往后翻的,是不能说,先进入第10页,然后去120页,回到58页,不能随意乱跳页。所以现在很多产品,都是不允许你随意翻页的,app,也有一些网站,做的就是你只能往下拉,一页一页的翻,无论翻多少页,性能基本上都是毫秒级的同时这个scroll是要保留一段时间内的数据快照的,需要确保用户不会持续不断翻页翻几个小时。作者:名字是乱打的
https://www.jianshu.com/p/8a61816dbea5
公众号“Java精选”所发表内容注明来源的,版权归原出处所有(无法查证版权的或者未注明出处的均来自网络,系转载,转载的目的在于传递更多信息,版权属于原作者。如有侵权,请联系,笔者会第一时间删除处理!
精品资料,超赞福利!![]()
☆ 主流Java进阶技术(学习资料分享)
>Java精选面试题<
3000+ 道各类技术面试题在线刷,最新、最全 Java 面试题!
![]()
技术交流群!![]()
最近有很多人问,有没有读者交流群!想知道如何加入?方式很简单,兴趣相投的朋友,只需要点击下方卡片,回复“加群”,即可无套路入交流群!