作者:云磐
来源:商业人物(ID:biz-leaders)
名利场的前沿阵地,娱乐圈女明星与资本圈,又有新故事。
这次故事的主角叫毛俊杰,一个少有女一号经历的三线女演员。她职业生涯的两次热搜,都和演员这个职业无关。
即便是她参加了S级节目乘风破浪姐姐3(下称“浪姐3”),好似流量绝缘体的毛俊杰也没有太多话题。
而被浪姐3第四次公演淘汰后的第四天,即7月18日,香港联交所的一纸谴责声明,让商业女强人毛俊杰做了一回女一号。
在娱乐圈浸淫近20年,近年来相较女演员这个身份,商业圈或许才是毛俊杰的主战场,在刻意经营和维护下,金融女高管、上市公司董事、米其林一星餐厅老板……等标签贴的不亦乐乎。
有时候越高调,越容易翻车。与资本圈越走越近的履历,让这位三线女演员的身份有了些许的神秘。
壹
2018年,毛俊杰大闹海关并撒谎造假,或许让她第一次体会到了一线女明星的“万众瞩目”之感,这也是她在十多年的演艺生涯中第一次上热搜。
当时,她以宝妈的名义发文控诉“深圳海关工作人员态度恶劣,故意刁难”,但随即被相关监控打脸,视频显示毛俊杰谎话连篇,最后以她道歉并删博结束。
此事发生前,娱乐圈就有毛俊杰嫁豪门生子的传闻。彼时应该最是“春风得意”之时,却因撒谎火出圈,不知女强人心中是何滋味。
娱乐圈按资排辈、以流量排位早就不是稀罕事,无论从哪个方面,毛俊杰都距离一线有不小的距离。
浪姐这档全民关注的S级节目选择嘉宾的标准,要么红过、要么自带话题,无论哪一条都好像和毛俊杰没关系。
那么她为什么可以上浪姐3?
或许我们可以从她在芒果TV《听姐说》这档节目中找出一些端倪,节目中毛俊杰多次谈及她的“本职工作”,并提到了她的老公。
“每次录综艺节目,都感觉自己像是一个售楼大姐,别的女明星都是单纯上综艺,而自己更多的是为了冲业绩……谁让那是自己公司的楼盘呢”“我建立了一支文化基金,专门投影视剧”“我白天得看A股、港股,晚上十点半美股开盘,我要帮我老公操作美股。”
虽然句句未提我是女强人,但每句话都透露出“我是精英”的自信。一系列凡尔赛拳打下来,在女强人这个标签面前,女明星这个身份显然不够瞧了。
贰
查看毛俊杰此前的动态不难看出,大闹深圳海关事件的前一年,即2017年,她就很少出现在观众视野中,作品较之前也更少。
逐渐淡出娱乐圈的女演员毛俊杰,再现身时已变身金融女高管、商业女强人。
2021年1月,毛俊杰出现在了港股上市公司企展控股的任命公告中,后者聘请她为公司执行董事,月薪30万港元,引发热议,这也是女明星二次“撒谎”上热搜的导火索。
据企展控股公告,38岁的毛俊杰,2006年毕业于中央戏剧学院,曾在福方(香港)、天仁科技等公司以及国际金融机构担任高级职位,在金融管理以及各方面的并购活动拥有15年经验,多次参与多国及地区上市公司的IPO。
划重点,2006年7月中戏毕业,没有任何与金融、经济有关的学习经历,按照上述公告,毕业一年,毛俊杰就得开始在投资圈“纵横捭阖”,才能对得上15年经验的说辞。如若经历属实,只能用“天才”二字来形容这名女演员。
但如果也只能是如果。外界对于毛俊杰以及企展控股的操作并不买账。2021年4月,后者便改口并就毛俊杰履历发布澄清公告,“有关毛俊杰的履历中存在若干表述错误……”。
澄清归澄清,但企展控股经过重新评估后也只是下调了毛俊杰薪资的40%,年薪由此前的360万港元降至200万港元,这对毛俊杰在娱乐圈和资本圈的发展没有任何影响。
这还不算完,7个月后,即2021年11月,企展控股第三次因毛俊杰履历造假一事发布公告,“后者因希望专注个人业务辞任执行董事。”
毛俊杰履历和任命一事一波三折,引发多方投诉,这才有了开头所讲的联交所谴责公告。
虽然毛俊杰承认,“当时的某些语句,纯粹是按她的意思做的诠释,与市场一般的理解并不相同。”但联交所认为履历的不真实或具有误导性,如果她继续留任企展控股董事会,会损害投资者权益。
公开资料显示,企展控股是一家数据专业服务商,已经连续五年净利亏损。据公司财报,2017年至2021年,累计亏损达2.5亿元。截至7月25日收盘,报2.05港元,市值1.39亿港元。
诡异的是,公司执行董事履历涉嫌造假并被公开谴责,负面新闻在前,公司股价不降反升,遭爆炒。7月25日收盘价也创了自去年12月16日以来的最高,总成交额为1328.3万港元。
叁
娱乐圈三线女明星和资本圈女精英,双重身份带来的反差,让看起来平平无奇的毛俊杰多少也带了点神秘色彩。
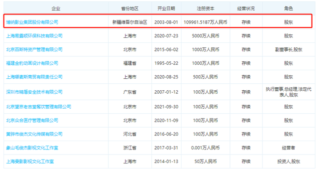
天眼查显示,毛俊杰名下关联11家公司,商业版图涵盖餐饮、医疗、投资、房地产等。
她担任股东、高管或法定代表人的公司包括博纳影业、上海易露顺环保科技、北京佰斯特资产管理有限公司、深圳市精盾安全技术有限公司、北京望京老吉堂餐饮管理有限公司、北京众合医疗管理有限公司、黄骅市俊杰文化传媒有限公司、上海曼影影视文化工作室等。
资本版图背后不乏于冬、银泰集团沈国军、和合控股张俊生、朗姿股份申东日等大佬的身影。最为核心的一个人物是企展控股实控人景百孚。
多年来娱乐圈多有传闻,毛俊杰早已嫁入豪门。据《财新》援引一位娱乐圈资深人士的说法,“毛俊杰的‘老公’为一名山东籍地产商。”
这与她在节目中亲口透露的“售楼大姐”“自己家的楼盘”等细节都对得上。女明星和神秘富豪之间的故事在娱乐圈不是什么稀罕事。
根据企展控股的公告,2017-2019年,毛俊杰先后担任企展控股的附属公司东方龙马软件的公关经理,以及福方(香港)有限公司的董事,2021年以来,担任企展控股的执行董事。
毛俊杰所任职的公司背后都有香港地产富商景百孚的身影,东方龙马软件创始人是他,福方(香港)是后者手中仁天科技控股子公司的董事,企展控股的实控人也是景百孚。
说起景百孚,实属神秘,有关他的报道和新闻寥寥无几。根据公开资料,景百孚与毛俊杰同为烟台老乡,原名景源,早已定居香港。
自他下场成为资本玩家后,便是胡润和福布斯富豪榜上的常客。2010年,景百孚以26亿元身价首次登上胡润百富榜,2016年,在胡润地产富豪榜中以115亿元财富排名第37名,排在贵州地产一哥罗玉平之前。
公开资料显示,1970年出生的景百孚,先是创办东方龙马软件公司,靠IT软件起家,又涉足房产领域,创办北京百顺达房地产、北京昂展置业等公司。
2001年,他通过入股国内首家A股上市IT公司*ST实达(即当时的实达集团),下了他进入资本市场的第一步棋。同年,他改名景百孚。
景百孚2010年进入香港市场,此后数年,他开始在资本市场长袖善舞,陆续将嘉年华国际、企展控股和仁天科技三家港股上市公司收入囊中。
同时,他还收购了高端自助餐企金钱豹。景百孚的商业版图横跨IT、移动互联科技、房地产、餐饮、休闲旅游等。
据《财新》报道,景百孚手里的三家港股上市公司,与此前落马的中国太平保险集团前董事长王滨,以及已被执行死刑的中国华融集团前董事长赖小民,有相关往来。
在房地产行业调控趋严,融资收紧,企业降杠杆加速之下,景百孚的危机也随之到来。2019年,他先是将陷入经营危机的实达集团卖给兴创电子,并辞去董事长职务。
在三家港股上市公司深陷入债务泥潭的背景下,为了回笼资金,景百孚开始进行战略收缩。他甚至还通过阿里拍卖平台以7786万元的价格出售了一处汤臣一品的豪宅,以解燃眉之急。
也是这一年,在资本圈翻云覆雨多年的景百孚,名字从胡润等富豪榜中消失。
现如今,景百孚旗下的嘉年华国际继续停牌,业绩严重赤字被股东追债的仁天科技已于今年5月30日被强制摘牌退市,而因毛俊杰履历造假深陷舆论风波的企展控股,持续亏损不知何时休。
景百孚,这位游走在香港和内地商业圈的神秘富豪,何时能解决当前负债、经营难题尚不可知。可以确定的是,在资本版图上与他有着千丝万缕关系的毛俊杰,“精英女强人”的标签和人设距离塌房也仅一步之遥。
女明星和富商的故事不是稀罕事,毛俊杰不是第一个,也不会是最后一个。
在初登浪姐3舞台时,毛俊杰还是一副成功投资人、商业女强人的姿态,她也曾自信万千的喊话,“我敢来乘风破浪,我多有勇气啊。”
不知她经历在四公即被淘汰出局,以及商场主阵地信誉度“塌房”后,还能否如此前那般有勇气。凡尔赛易说,精英人设难立,一个不小心就会翻车,前车之鉴比比皆是。
*题图购买于视觉中国
粉丝福利时刻到了!
“商业人物”又来赠书了!!
今天送出的是中国青年出版社提供的《经验》一书。此书为判断和决策研究领域奠基人罗宾·M. 霍格斯全新力作,是一本跨学科的决策指南。作者用引人入胜的故事、详实的案例、通俗不晦涩的语言,揭示经验如何塑造我们的直觉,我们为什么会在日常生活和职业生活中吸取错误的教训,教你识别经验的缺陷,纠正经验的误导,从而更好地生存。
如果你想免费获得此书,可以评论我们今天的文章。我们会选出5条点赞量最高留言,包邮送书给你!
推荐阅读
李亚鹏啊,要不还是别做商业了
金融诈骗犯为啥喜欢逃往塞浦路斯?
足浴还真不是娱乐业
中国雪糕,百年战争!
投稿、约访、合作,联系邮箱:bizleaders@qq.com
添加微信biz-leader,获转载授权或邀您加入商友群