Weixin ID biodiscover
About Feature 探索生物科技价值的新媒体
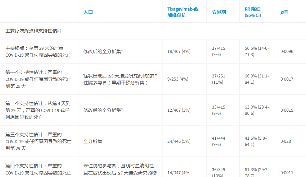
2022年6月,阿斯利康披露已将Evusheld在TACKLE III期临床试验的积极成果发表在Lancet Respiratory Medicine,研究表明Evusheld可降低新冠重症和死亡风险。
2022年3月,华盛顿大学发表Evusheld首个体内试验研究成果(图4),数据显示,Evusheld可减少所有受试的Omicron变异株亚系的肺部的病毒载量。
▌Evusheld优先适用于免疫低下人群
排版|露娜
End
参考资料:
往期精选
围观
热文
福奇:服用Paxlovid治疗新冠,转阴3天后复阳,症状却更严重!
Scan to Follow