医疗器械媒体报道先锋
分享专业医疗器械知识
近期,正雅齿科宣布完成D轮融资,融资金额达5亿元。本轮融资由北京泰康投资领投,华润国调厦门消费基金、嘉兴科技城、张家港产业投资等机构和部分老股东共同跟投。正雅齿科表示,本轮融资将加速正雅在隐形正畸领域的产业布局、推进隐形正畸技术的持续研发与创新,同时加强品牌建设与团队发展,促进其核心产品在国内外市场的进一步拓展。
不过,在表面繁荣背后,正雅齿科却深陷“虚假带货”旋涡。
据上海市浦东新区市场监督管理局行政处罚决定书显示,上海趣摩文化传播有限公司因帮助正雅齿科进行虚假或者引人误解的商业宣传,被浦东新区市场监督管理局罚款45万元,而涉及的正是正雅齿科的相关产品。此外有消息称,正雅齿科直接跳过下游医疗服务机构,或存在营销“擦边球”的情况。
近期,正雅齿科宣布完成D轮融资,融资金额达5亿元。本轮融资由北京泰康投资领投,华润国调厦门消费基金、嘉兴科技城、张家港产业投资等机构和部分老股东共同跟投。这一轮融资将加速正雅在隐形正畸领域的产业布局、推进隐形正畸技术的持续研发与创新,同时加强品牌建设与团队发展,促进其核心产品在国内外市场的进一步拓展。
成立于2004年的正雅齿科,专注于数字化隐形正畸原创技术的研发、定制式隐形矫治器的医学设计、生产制造及销售服务。正雅在上海张江和浙江嘉兴设有数百人团队的医学设计中心,并在浙江嘉兴与四川资阳(中国牙谷)建有智能生产基地,并配备其自主研发的全流程自动化生产线。
此外,正雅齿科通过与口腔专家、临床医生、中华口腔医学会及各级省级口腔医学会、科研院所的合作,进行口腔正畸领域的临床技术研究,不断推出新装置、新材料、新技术,拓展隐形正畸适应证的边界。其在临床新技术、诊断新分类、膜片材料、大数据及算法、数字化模拟技术等多个领域均取得丰硕成果。
截至2022年2月,正雅齿科累计申请国内外专利530余项,其专利数量及质量均领先于国内同行,成为口腔行业兼具创新性和成长性的知名高新技术企业之一,也是国内隐形正畸行业的领导品牌之一。
而在资本方面,领投本轮融资的华润国调厦门消费基金还有“国家队”背景,包括三家央企,其中不乏华润、华侨城等来自深圳的“国家队”。
公开资料显示,该基金由华润创业有限公司、华润资本管理有限公司、中国国有企业结构调整基金股份有限公司、深圳华侨城资本投资管理有限公司、厦门市及翔安区两级政府引导基金与金圆集团等其他市场化投资人共同设立,合伙人中包括盲盒第一股泡泡玛特,基金规模约为20亿元。
与此同时,正雅齿科的投资方南京高科在2021年6月1日表示,其发起设立的南京高科新浚成长一期股权投资合伙企业(有限合伙)投资了正雅齿科,金额5000万元,股权比例约6.5%。以此计算,在C轮投资时正雅齿科估值达到7.7亿元。
不过,在完成D轮融资后,近期正雅齿科却陷入了流量主播虚假带货的风波中,并被上海市浦东新区市场监督管理局罚款45万元。
3月25日,上海市市场监督管理局公告显示,上海趣摩文化传播有限公司因存在帮助其他经营者进行虚假或者引人误解的商业宣传的行为,违反了《中华人民共和国反不正当竞争法》,被上海市浦东新区市场监督管理局罚款45万元,并责令停止违法行为。而处罚决定中涉及的隐形牙套产品正是源自正雅公司。
截图源自上海市市场监督管理局公告
据悉,MCN机构趣摩文化关联公司上海趣摩文化传播有限公司(下称“趣摩文化”)与正雅齿科科技(上海)有限公司签订服务订单,约定通过当事人招募400名流量博主在小红书APP上宣传推广正雅公司的隐形牙套产品,主要均为关于正雅公司销售的隐形牙套产品的使用体验和正面评价。
经核查,前述400名流量博主在发布上述图文前和发布时均不是正雅公司隐形牙套的实际患者或者使用者,其发布的图文内容均是根据当事人的宣传文案虚假编撰的。2021年2月25日,上述400名流量博主完成所有推广图文的发布。趣摩文化在上述宣传推广服务中获得服务费用33.92万元。
上海市浦东新区市场监督管理局认为,上述机构因违反了《中华人民共和国反不正当竞争法》第八条第二款“经营者不得通过组织虚假交易等方式,帮助其他经营者进行虚假或者引人误解的商业宣传。”的规定,构成帮助其他经营者虚假宣传之行为,于3月20日被相关部门罚款450000元。同时,400位KOL将发布的推广图文已删除下架。
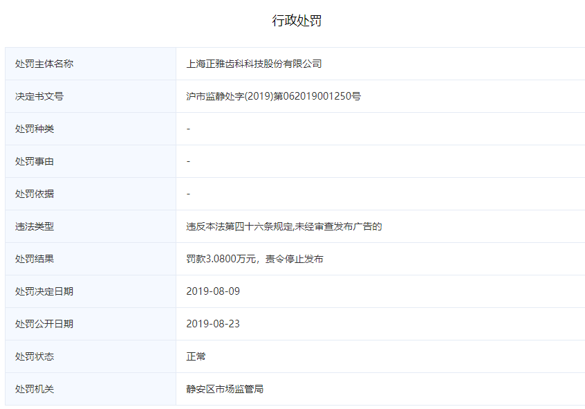
值得一提的是,该公司在2019年曾因未经审查发布广告,被上海市静安区市场监管局处罚款3.08万元,并责令停止发布(文号:沪市监静处字(2019)第062019001250号)。
值得注意的是,正雅齿科混迹于小红书APP、知乎所打造的“表面繁荣”背后,或是其瞄准的直接向患者进行隐形矫治器售卖的市场。根据灼识发布的2022年《全球及中国隐形矫治业蓝皮书》公布的报告显示,正雅在2021年为海外DTC—面向消费者直接销售的正畸产品进行代工。
我国正畸市场潜在需求庞大,在口腔正畸产业链中,矫正器处于中游,下游是口腔医疗服务机构,矫正器选择需由医疗机构判断使用条件。在天猫Smartee正雅旗舰店以及直播中,却出现直接面向消费者销售隐形矫正套餐的行为。
天猫Smartee正雅旗舰店显示,目前在售4款隐形矫正套餐以及2款儿童隐形矫正。隐形矫正套餐价格从26800元至52800元几档,儿童隐形矫正价格为26888元。根据预约就诊流程,消费者在购买商品后将收到电子券号,电话预约后凭券号到院检查。
据商品详情页显示,隐形矫正套餐可在全国149家口腔医院使用,儿童隐形矫正则支持上海和深圳3家口腔门诊部。从门店类型看,多是自然人独资或控股的有限责任公司,以及个体工商户等。
“这是一种‘去中心化’的销售模式,正雅齿科已经跳过下游医疗服务机构,直接面向口腔医疗用户进行销售。”一位从业人员对财联社记者表示,口腔正畸产品使用需要严格遵循医嘱,医生全程参与每个治疗阶段。通常而言,正畸产品使用只能通过具有合法资质的医疗机构获得,通过口扫设备终端等确定患者治疗条件,治疗方案因人而异。
事实上,以某同业公司此前声明为例,正畸产品与面向消费者的隐形矫治公司没有关联。医生的参与对评估患者的口腔健康和正畸治疗的适合性、指导患者的治疗选择和达到治疗效果至关重要,尤其对患者的健康至关重要。
因此,消费者无法在任何渠道直接获取矫正器,相关产品也不具备面向消费者直接提供服务的条件。
值得一提的是,在小红书APP以外,知乎也是正雅齿科营销“水军”的重要战场。在知乎中同样可见大量关于正雅隐形牙套营销,包括 “求科普,正雅隐形矫正专业吗?”等内容。目前,相关提问者已被知乎反作弊限制,或因包含垃圾广告和营销信息,用户处于禁言状态。
数据显示,中国隐形矫治案例数由2015年的4.7万例增长至2020年的近34万例,年复合增长率达47.7%,预计到2030年,这个产业将成长为逾700亿规模的成熟市场。与此同时,中国也成为全球第二大隐形正畸市场。
具体到市场表现,在国内隐形正畸市场中,进口品牌“隐适美”市场份额41.0%、时代天使市场份额41.3%、正雅齿科市场份额8.9%。在国有品牌中,时代天使是正雅齿科最大的对手。随着2021年6月正式登陆港交所,时代天使成为中国正畸第一股,开启了全新的资本市场之路。正雅齿科的压力也随之加剧。
灼识咨询调研数据显示,就中国大陆隐形矫治市场2021年的达成案例数计算,时代天使市场与隐适美的市场份额位列前两位,分别达到41.1%与35.9%。但是,新兴隐形矫治企业并非没有弯道超车的机会,关键在于他们能否把握市场下沉与儿童隐形矫治市场蓬勃发展的机会。
以案例数计,2021年中国隐形矫治市场的达成案例数量增长至约45万例,但在整体正畸案例数的渗透率仅为13%,相比而言,同期美国隐形矫治案例数在整体正畸市场中的渗透率则达到约36%,表明中国隐形矫治市场仍具较大发展潜力。预计未来中国隐形矫治市场达成案例数将以25.6%的年复合增长率稳定增长。这无形间也给具有一定产品技术优势与独特市场拓展能力的新兴隐形矫治服务商提供更大的市场发展空间。
在这一背景下,更加“美观”、“舒适”、“方便”、“结果可预期”、“过程可视化”的数字化隐形矫治受到了当下年轻人的追捧。同时,隐形矫治器治疗还可使治疗适应症范围扩大,如隐形矫治器治疗能更好控制牙齿移动,因而可以解决越来越多的适应症,推动隐形矫治治疗应用于中国更为常见的复杂适应症,不断扩大的新目标患者群体。
而除了时代天使,正雅齿科还面临新的竞争对手,如源自美国的数字化微笑设计、以低于市场60%的正畸价格、在互联网线上进行迅速扩张获客、进行线下区域服务中心布局的微微一笑VVL,微微一笑VVL已获多轮融资。
当前,二级市场对口腔赛道的投资热情越来越火热,同时市场潜力也值得期待。而在机遇与挑战并存之际,市场也并非没有正雅齿科留机会。
那么,在迎来市场风口之际,雅正齿科将如何解决其销售风波?在面对市场负面舆论之际,雅正齿科又会做出什么样的战略调整?器械之家将持续关注。
更多精彩内容
| 内镜交流群 | 骨科交流群 | 手术机器人交流群 |
| 体外诊断交流群 | 影像交流群 | 健康交流群 |
商务合作:qxzj@landianyiliao.com